SFR1-ZZEE PS2


SFR1-ZZEE PS2
SFR1-ZZEE PS2

0.055 x 0.1875 x 0.1094 Inches

0 Reviews

Description

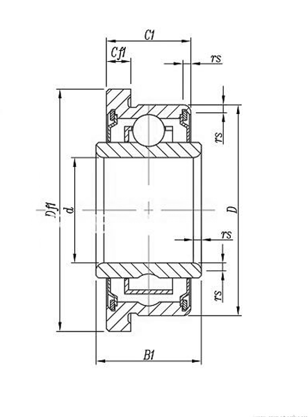
Stainless, Shields, Flanged, Extended Inner Ring
List Price:
$18.02
Price:
$15.77
View quantity discounts
Quantity: qty in stock: 43
Add to Cart
  • Product Specifications
  • Downloads
  • Videos
ABEC/ISO Rating
ABEC#1/ISOP0
Ball Grade
10
Ball Material
STAINLESS STEEL 440C
BEARING MATERIAL
STAINLESS STEEL 440C
DIMENSION TYPE
INCH
Enclosure Material
STAINLESS STEEL
Enclosure No.
TWO SHIELDS
ENCLOSURE TYPE
REMOVABLE (S)
EXTENDED ON
BOTH SIDES
Extended Width
0.1406
Flange F
F
Flange OD (D1)
0.2344
FLANGE OD D1
0.2344
Flange Width (Bf1)
0.0312
FLANGE WIDTH BF1
0.0312
ID
0.055
LUBE
KYODO PS2 GREASE
OD
0.1875
Radial Play
P25
RETAINER MATERIAL
STAINLESS STEEL
Special
YES
Width
0.1094
BASIC LOAD (KGF)
7
DYNAMIC LOAD (KGF)
24
WORKING TEMP DEG. C
121
RPM GREASE (x1000)
90.00
RPM OIL (x1000)
110.00

Reviews

0 Reviews

Review this product

Rating